Lifting Electromagnet of Turning Arm
This product which has feed-back signal is used on furnace cover equipped with auto-switch of auto coal-filling machine at coke furnace. And it is an indispensable assistant equipment to open and close the furnace cover. LKD4-220, LKD6-220 have been replaced by new types LMS1-325/H, and LMS2-352/H. They are all equipped with feed-back signal.

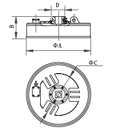
LM-77L/G Overall Dimension Drawing

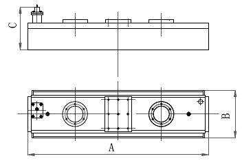
MLJ-10/H-G Overall Dimension Drawing
Main technical data

Related posts


